用心塑好管,管用50大型PE管、钢丝网骨架管、MPP电力管生产厂家

18036862601
400-1810-996
天行(中国)管业:精益求精铸造品质
  • 钢丝网骨架复合管

钢丝网骨架复合管

钢丝网骨架复合管

钢丝网骨架(聚乙烯)PE复合管材是以呈缠绕在管材中的高强度过塑钢丝为增强体,外层和内层双面复合热塑性高密度聚乙烯,通过挤出成型方法复合成一体的一种新型环保塑料复合管材。它既克服了钢管和塑料管各自的缺点,又具有钢管优良的承压性能和塑料管良好的卫生性能。

在线咨询

服务热线:18036862601

产品 · 特点 Product features
  • 管材 耐冲击性好

    钢塑两种材料结构复合而成,耐冲击性 (脆性)好,管道弹性形变可达50~70%,不易脆裂;

  • 管材 防腐性能强

    复合管材内外壁均采用高密度聚乙烯塑料为基体,具双面防腐,有良好的耐酸、耐碱、耐化学腐蚀性能。

  • 管材 流通能力强

    内壁光滑、基体材料HDPE属非极性物质,管壁不结垢,流通能力强,较球墨铸铁管、钢管可提高20%以上。

  • 管材 密封性能好

    利用高密度聚乙烯的热塑性原理,管道采用电热熔连接,一次成功,不渗漏,密封性能很好;

  • 管材 连接可靠高

    利用统一标准参数焊接,人为因素少,接头不渗漏,连接可靠性高。

  • 管材 承压强度高

    有更高的承压强度和抗蠕变性能;具有普通纯塑料管没有的刚性、抗冲击性,类似钢管的低线膨胀系数

  • 管材 单体质量轻

    De160:7.00kg/m     DE200:10.00kg/m; DE250:13.00kg/m      DE315:21.00kg/m。

  • 管材 施工费用低

    施工简单,管材重量轻,无需吊车等器械辅助;无需做混凝土基础及昂贵的锚定;操作方便,安装快,施工费用低。

  • 管材 使用寿命长

    抗磨损性能良好,在正常使用情况下,使用寿命50年。

产品 · 参数 Product parameters
钢丝网骨架(聚乙烯)PE复合管材参数
公称外径dn/mm 公称压力MPa
0.8 1.0 1.25 1.6 2.0 2.5 3.5
公称壁厚e./mm
50 4.5 5.0 5.5 5.5
63 4.5 5.0 5.5 5.5
75 5.0 5.0 5.5 6.0
90 5.5 5.5 5.5 6.0
110 5.5 5.5 7.0 7.0 7.5 8.5
140 5.5 5.5 8.0 8.5 9.0 9.5
160 6.0 6.0 9.0 9.5 10.0 10.5
200 6.0 6.0 9.5 10.5 11.0 12.5
200 6.0 6.0 9.5 10.5 11.0 12.5
225 8.0 8.0 10.0 10.5 11.0
250 8.0 10.5 10.5 12.0 12.0 12.5
315 9.5 11.5 11.5 13.0 13.0
355 10.0 12.0 12.0 14.0
400 10.5 12.5 12.5 15.0
450 11.5 13.5 13.5 16.0
500 12.5 15.5 15.5 18.0
560 17.0 20.0
630 630 23.0
管材静液压强度及爆破压力表
用途符号 试验温度/℃ 短期静液压力及爆破压力/MPa 试验时间/h 性能要求
LT 20 2PN 1 不破裂、不渗漏
80 1.2PN 165 不破裂、不渗漏
20 连续升压至试样爆破 ≥3PN
焊接 · 视频 Welding video
  • 钢丝网骨架管电熔焊接操作方法

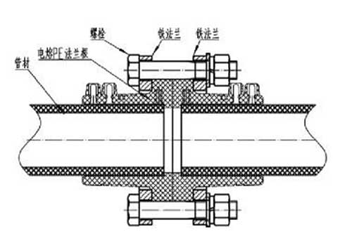
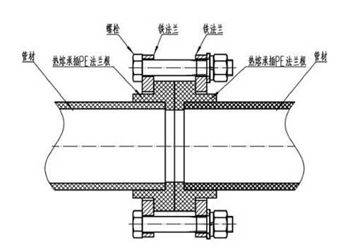
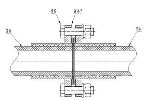
连接 · 方式 Connection mode
电熔法兰连接

电熔法兰连接

承插PE法兰连接

承插PE法兰连接

扣压法兰连接

扣压法兰连接

扣压卡箍连接

扣压卡箍连接

产品 · 应用 Product application
  • 油田

    油田

  • 电厂

    电厂

  • 化工石化

    化工石化

  • 市政供水

    市政供水

  • 市政燃气

    市政燃气

  • 跨海供水工程

    跨海供水工程

资质 · 荣誉 Honor qualification
  • 安全生产证

    安全生产证

  • 成长版挂牌企业

    成长版挂牌企业

  • 上海市建设工程材料备案证

    上海市建设工程材料备案证

  • 五星售后

    五星售后

  • 重合同守信用企业证书

    重合同守信用企业证书

左箭头 右箭头
选择天行(中国) · 4大理由 Four reasons
10年经验沉淀 · 厂家直销 · 品质信赖
01

13年经验沉淀 · 厂家直销 · 品质信赖

天行(中国)先后获得国家高新技术企业、五星售后服务认证、质量管理体系认证、环境管理体系等认证证书;服务过南京理工大学、浙江大学、太仓水务、常州高铁站、农夫山泉、碧桂园、南京地铁4号线等5000+大型企业

规格齐全 · 库存充足 · 当天发货
02

规格齐全 · 库存充足 · 当天发货

产品外径从20-1200mm,压力从0.6MPa—1.6MPa均可制造,规格型号齐全,16000㎡生产基地、12条经纬PE生产线、造粒机等20多台设备,年产50000吨,大量现货库存,当天快速发货;

三重抽检 · 严格把关 · 符合国家标准
03

三重抽检 · 严格把关 · 符合国家标准

严格按照ISO9001:2015质量管理体系执行,并通过产线、产品、国家三重抽检,同时配有相关检验报告,保证出厂产品符合卫生安全标准和国家标准; 原材料一手采购品牌厂家,从根本上保证管材管件的质量;

现场指导 · 快速响应 · 急你所需
04

现场指导 · 快速响应 · 急你所需

7*24小时及时响应,1小时内给解决方案,12小时内派技术人员上门服务; 专职焊工去现场指导施工;提供焊接指导支持及免费焊接设备,保证安装效果; 自有车队送货上门,确保产品在运输过程中总完好无损;

联系 · 天行(中国)管业 Contact Zhongtong
联系天行(中国)管业

尊敬的访客,天行(中国)欢迎您!

天行(中国)管业13年专注PE排水管 、PE给水管、钢丝网骨架复合管的生产,通过ISO9001质量管理体系认证,产品符合GB/T13663.2-2018标准 ,服务过南京理工大学、浙江大学、太仓水务、常州高铁站、农夫山泉、碧桂园、南京地铁4号线等大型企业,欢迎在线咨询。

全国服务热线:18036862601 在线咨询

最新案例

推荐产品

排水用聚乙烯(PE)管材

PE排水管

排水用聚乙烯(PE)管材又称高密度聚乙烯管材,英文即:HDPE.因为其耐磨、防酸耐腐蚀、耐高温、耐高压等特点,渐渐的取代了钢管、水泥管等传统管材在市场上的地位,特别是因为此管材重量轻方便安装与移动,是新型材料的优选.这类管材常被用作市政工程选择管材,主要用在:污水处理行业。
给水用聚乙烯(PE)管材

PE给水管

给水用聚乙烯(PE)管材采用进口原材料,具有寿命长、无毒卫生耐腐蚀性好、不泄漏、流阻小、节能环保等特点;符合《生活饮用水输配水设备及防护材料卫生安全评价规范》(2001);产品符合GB/T13663.2-2018标准。
钢丝网骨架复合管

钢丝网骨架复合管

钢丝网骨架(聚乙烯)PE复合管材是以呈缠绕在管材中的高强度过塑钢丝为增强体,外层和内层双面复合热塑性高密度聚乙烯,通过挤出成型方法复合成一体的一种新型环保塑料复合管材。它既克服了钢管和塑料管各自的缺点,又具有钢管优良的承压性能和塑料管良好的卫生性能。
排水用聚乙烯(PE)管材(1)

MPP电力管

MPP电力管是一种用于电力电缆保护的高性能管材,主要材质为改性聚丙烯(MPP)。它具有耐高温、耐腐蚀等特点,适合复杂环境。并且强度高,能有效保护电缆免受外力损害。绝缘性好,确保电力传输安全。施工便捷,重量轻,安装简单,连接方式多样,如热熔、承插等。MPP电力管广泛应用于城市电网、交通、通信等领域,特别适用于电缆埋地工程,能有效延长电缆寿命并提高电力传输的可靠性。
孔网钢带聚乙烯复合管

孔网钢带聚乙烯复合管

孔网钢带聚乙烯复合管是以冷轧钢带焊接的孔网管为增强骨架,复合热塑性塑料的复合管材,由于引入增强骨架,管材的耐压强度显著提高,选用不同种类和牌号的热塑性塑料可以生产不同用途的复合管材公司生产的孔网钢带塑料管按用途分为:给水用、埋地燃气用、热水用、化工用和特殊用数种用途。
PE置换短管

PE置换短管

PE置换短管的使用方法:施工人员并未在整条路面开挖,而是采用先在施工管道两端做工作井,工作井四周用水泥加固四壁,一切就绪后,裂管机将旧管道碎片切割后挤入周围土体形成管孔,并同步拉入新管道(同口径或更大口径)的管道更新方法。
虹吸雨水斗

虹吸雨水斗

虹吸雨水斗是由:虹吸雨水斗底盘、采用优质304不锈钢材料冲压而成。压环和导流罩采用硬铝合金和锌合金压铸制成。具有抗腐蚀、抗挤压等特性。虹吸雨水斗具有极强的反涡流功能,能很好的防止空气通过雨水斗入口处的水流带入整个系统,并在斗前水位升高到一定程度时,形成水封完全阻隔空气进入。
HDPE虹吸排水管

HDPE虹吸排水管

虹吸式排水就是通过特殊构造的虹吸式雨水斗及排水管道的管径及走向的科学合理布局,利用建筑物的高度差所具有的势能,将屋面雨水以极快的速度排向地面。其中虹吸排水管在虹吸式排水系统中占据重要地位,其品质的优劣关系到整个虹吸排水系统能否正常工作及系统的使用寿命长短。
电熔管件

电熔管件

钢丝网骨架管也称:钢丝网管、钢丝网骨架塑料复合管、钢骨架增强塑料复合管、钢骨架管、钢骨架塑料复合管、PSP管、SRTP管、STSCP管、SPE管。钢丝网骨架聚乙烯复合管分三层结构,即芯管、钢丝层、外PE层。其中芯管和钢丝缠绕层是用于承受管材内压,外PE层主要是用于焊接连接。
PE管件

PE管件

PE管件就是用来配合PE管材工程的配件。口径DE2--DE1000,目前主要应用于饮水工程。一般4M、6M一根,铺设的时候因为长度不够需要连接,需要拐弯分出直流等情况需要弯头三通等管件,满足管路铺设需求。
推荐资讯
我们该如何选择PE开挖管和PE拖拉管呢?
2024.04.16

头 条 我们该如何选择PE开挖管和PE拖拉管呢?

我们该如何选择PE开挖管和PE拖拉管呢?其实开挖管和拖拉管都是在地下铺设管道时常用的施工方法,其中:开挖管施工工艺:1.开挖方法: 开挖管施工通常采用传统的挖土方法。首先... 【详情+】

  • 邮箱408925235@qq.com
  • 电话18036862601
  • 地址江苏省无锡市江阴市临港新城景贤路819号
24小时免费咨询电话:400-1810-996