logo

用心塑好管,管用50

天行(中国)管业:精益求精铸造品质
返回产品中心
钢丝网骨架复合管
  • 钢丝网骨架(聚乙烯)PE复合管材
钢丝网骨架复合管

钢丝网骨架(聚乙烯)PE复合管材是以呈缠绕在管材中的高强度过塑钢丝为增强体,外层和内层双面复合热塑性高密度聚乙烯,通过挤出成型方法复合成一体的一种新型环保塑料复合管材。它既克服了钢管和塑料管各自的缺点,又具有钢管优良的承压性能和塑料管良好的卫生性能。

产品 · 特点 Product features
  • 管材 耐冲击性好

    钢塑两种材料结构复合而成,耐冲击性 (脆性)好,管道弹性形变可达50~70%,不易脆裂;

  • 管材 防腐性能强

    复合管材内外壁均采用高密度聚乙烯塑料为基体,具双面防腐,有良好的耐酸、耐碱、耐化学腐蚀性能。

  • 管材 流通能力强

    内壁光滑、基体材料HDPE属非极性物质,管壁不结垢,流通能力强,较球墨铸铁管、钢管可提高20%以上。

  • 管材 密封性能好

    利用高密度聚乙烯的热塑性原理,管道采用电热熔连接,一次成功,不渗漏,密封性能很好;

  • 管材 连接可靠高

    利用统一标准参数焊接,人为因素少,接头不渗漏,连接可靠性高。

  • 管材 承压强度高

    有更高的承压强度和抗蠕变性能;具有普通纯塑料管没有的刚性、抗冲击性,类似钢管的低线膨胀系数

  • 管材 单体质量轻

    De160:7.00kg/m     DE200:10.00kg/m; DE250:13.00kg/m      DE315:21.00kg/m。

  • 管材 施工费用低

    施工简单,管材重量轻,无需吊车等器械辅助;无需做混凝土基础及昂贵的锚定;操作方便,安装快,施工费用低。

  • 管材 使用寿命长

    抗磨损性能良好,在正常使用情况下,使用寿命50年。

产品 · 参数 Product parameters
钢丝网骨架(聚乙烯)PE复合管材参数
公称外径dn/mm 公称压力MPa
0.8 1.0 1.25 1.6 2.0 2.5 3.5
公称壁厚e./mm
50 4.5 5.0 5.5 5.5
63 4.5 5.0 5.5 5.5
75 5.0 5.0 5.5 6.0
90 5.5 5.5 5.5 6.0
110 5.5 5.5 7.0 7.0 7.5 8.5
140 5.5 5.5 8.0 8.5 9.0 9.5
160 6.0 6.0 9.0 9.5 10.0 10.5
200 6.0 6.0 9.5 10.5 11.0 12.5
200 6.0 6.0 9.5 10.5 11.0 12.5
225 8.0 8.0 10.0 10.5 11.0
250 8.0 10.5 10.5 12.0 12.0 12.5
315 9.5 11.5 11.5 13.0 13.0
355 10.0 12.0 12.0 14.0
400 10.5 12.5 12.5 15.0
450 11.5 13.5 13.5 16.0
500 12.5 15.5 15.5 18.0
560 17.0 20.0
630 630 23.0
管材静液压强度及爆破压力表
用途符号 试验温度/℃ 短期静液压力及爆破压力/MPa 试验时间/h 性能要求
LT 20 2PN 1 不破裂、不渗漏
80 1.2PN 165 不破裂、不渗漏
20 连续升压至试样爆破 ≥3PN
焊接 · 视频 Welding video
  • 钢丝网骨架管电熔焊接操作方法

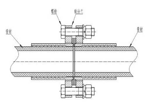
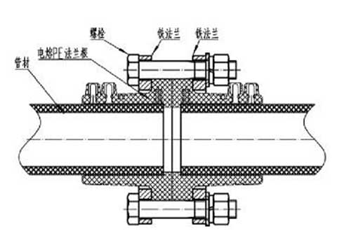
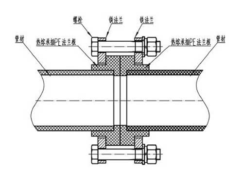
连接 · 方式 Connection mode
电熔法兰连接

电熔法兰连接

承插PE法兰连接

承插PE法兰连接

扣压法兰连接

扣压法兰连接

扣压卡箍连接

扣压卡箍连接

产品 · 应用 Product application
  • 油田

    油田

  • 电厂

    电厂

  • 化工石化

    化工石化

  • 市政供水

    市政供水

  • 市政燃气

    市政燃气

  • 跨海供水工程

    跨海供水工程

选择天行(中国) · 4大理由 Four reasons
10年经验沉淀 · 厂家直销 · 品质信赖
01

13年经验沉淀 · 厂家直销 · 品质信赖

天行(中国)先后获得国家高新技术企业、五星售后服务认证、质量管理体系认证、环境管理体系等认证证书;服务过南京理工大学、浙江大学、太仓水务、常州高铁站、农夫山泉、碧桂园、南京地铁4号线等5000+大型企业

规格齐全 · 库存充足 · 当天发货
02

规格齐全 · 库存充足 · 当天发货

产品外径从20-1200mm,压力从0.6MPa—1.6MPa均可制造,规格型号齐全,16000㎡生产基地、12条经纬PE生产线、造粒机等20多台设备,年产50000吨,大量现货库存,当天快速发货;

三重抽检 · 严格把关 · 符合国家标准
03

三重抽检 · 严格把关 · 符合国家标准

严格按照ISO9001:2015质量管理体系执行,并通过产线、产品、国家三重抽检,同时配有相关检验报告,保证出厂产品符合卫生安全标准和国家标准; 原材料一手采购品牌厂家,从根本上保证管材管件的质量;

现场指导 · 快速响应 · 急你所需
04

现场指导 · 快速响应 · 急你所需

7*24小时及时响应,1小时内给解决方案,12小时内派技术人员上门服务; 专职焊工去现场指导施工;提供焊接指导支持及免费焊接设备,保证安装效果; 自有车队送货上门,确保产品在运输过程中总完好无损;